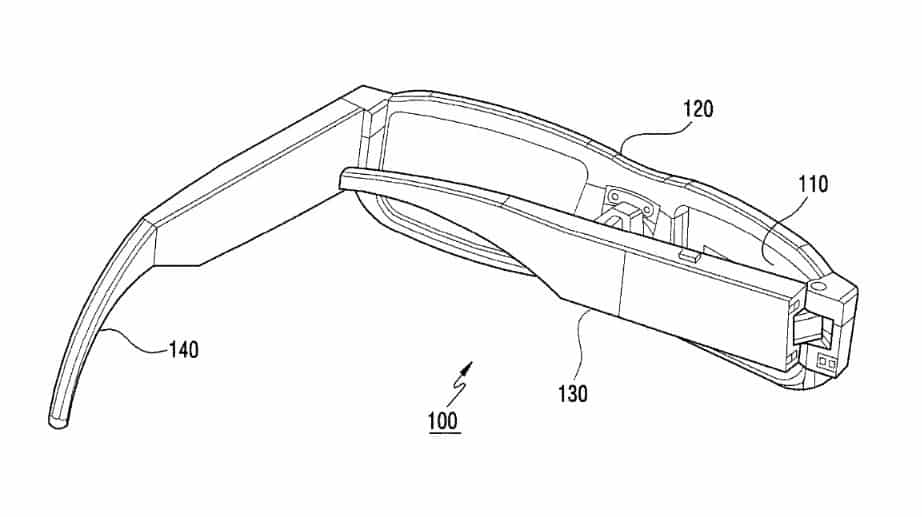
Segundo as informações mais recentes a Apple desistiu do seu projeto de smartglasses baseados em realidade aumentada, que foi considerado o próximo grande sucesso depois do iPhone. Já a Samsung entrou com um pedido de patente no Escritório de Marcas e Patentes dos EUA relacionado com um dispositivo do género. O pedido de patente revela um par de óculos especiais que se ligam automaticamente quando desdobrados.
Apple não quis mas Samsung prepara novos óculos especiais
Um projetor, localizado nos óculos, ilumina um pequeno ecrã localizado na lente. Entretanto as armações são um pouco mais grossas uma vez que abrigam a eletrónica utilizada pelo dispositivo. Dito isto, pode utilizar processadores baseados em ARM.
Lembramos que há alguns anos a Samsung lançou um vídeo de um projeto chamado Monitorless, que mostrava um par de óculos inteligentes baseados em RA e que parecem muito semelhantes às ilustrações utilizadas no pedido de patente. Estes óculos ligam-se a um smartphone da Samsung via Wi-Fi. Depois esse mesmo PC liga-se a um computador através da rede móvel. Assim, era possível trabalhar ou pelo menos aceder-se aos conteúdos do ambiente de trabalho sem monitor.
A Samsung mostrou estes óculos no Mobile World Congress em 2017.
Outro aspeto interessante destes óculos é que para além da realidade aumentada, funcionam também para a realidade virtual. Isto deve-se à utilização de um vidro especial que pode ficar opaco. Tudo através da simples aplicação de tensão elétrica.
https://www.youtube.com/watch?v=iOgs2Dspbm4
Apesar de já existirem alguns smartglasses no mercado, os mais famosos são sem dúvida os Google Glasses. De facto ainda são utilizados por algumas empresas.
Já na área de consumo, o produto falhou porque o dispositivo não conseguiu cumprir a promessa mostrada no vídeo divulgado pela Google quando anunciou o Project Glass em abril de 2012.
Para além disso os quase 1500 euros era um preço demasiado alto para o consumidor médio. Para além disso houve outras reações…
Os cinemas proibiram-nos com medo de que os filmes fossem gravados pela câmera dos óculos de RA, e alguns bares impediam que os clientes os utilizassem para não tirarem fotos às escondidas.
A patente da Samsung foi registrada em 2 de janeiro deste ano.








