Depois de lançar 3 smartphones dobráveis na forma do Galaxy Fold, Z Flip e Z Fold 2, parece que a Samsung está agora pronta a inovar mais um pouco, ao adicionar mais uma ou duas dobras à equação.
Samsung patenteou um novo smartphone ‘Triple Fold’!
Portanto, ao que tudo indica, a Samsung está mesmo a trabalhar num smartphone ‘triple fold’, e até já tem algumas patentes prontas para posteriormente apostar forte e feio na produção.
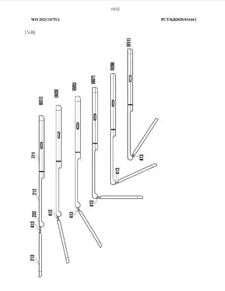
Aliás, até já temos algumas imagens a demonstrar muito do design, e até parte do mecanismo que vai dar vida a todas as dobras.
Ou seja, parece que vamos ter um design muito similar ao do Z Fold 2, com alguns extras, e pelo menos mais uma dobra. Quanto ao smartphone em si, parece que vamos continuar com um furo no ecrã para a câmera frontal. Entretanto, em termos de posição das dobras, o ecrã do lado direito fica em cima do painel central, enquanto o ecrã esquerdo fica atrés de ambos os painéis. Aparentemente, o módulo de câmeras traseiro vai ficar na parte plana do meio, colocadas de forma vertical.
Este não é o primeiro ‘leak’ relativamente ao lançamento de um smartphone ‘tri-fold’! Ou seja, esta parece mesmo ser a grande aposta da Samsung para o seu futuro imediato
Contudo, ainda não fazemos ideia de quando irá ser o seu lançamento. Além disso, também ainda não sabemos como irá ser a lista de especificações do aparelho. Será este o aparelho que irá substituir o Note em 2021? Afinal de contas, a Samsung precisa de algo em grande para substituir o tradicional lançamento de Agosto. Curiosamente, parece que também vamos ter S-Pen neste aparelho dobrável.
Ademais, o que pensa sobre tudo isto? Partilhe connosco a sua opinião nos comentários em baixo.
🔥 Este artigo foi útil?
Sê o primeiro a votar 🙂
Precisamos dos nossos leitores. Segue a Leak no Google Notícias e no MSN Portugal. Temos uma nova comunidade no WhatsApp à tua espera. Podes também receber as notícias do teu e-mail. Carrega aqui para te registares É grátis!



