Um dos componentes que tem merecido muita atenção por parte dos fabricantes de smartphones são as câmaras. Os módulos estão cada vez maiores, à medida que o número de sensores aumenta. Dito isto, as pessoas começam a perguntar-se até onde é que isto irá. De facto, muitos consideram que o mercado das câmeras fotográficas pode estar mais em risco do que nunca com esta inovação da Samsung que torna os smartphones ainda mais poderosos.
Samsung pode acabar com mercado das câmeras fotográficas!
Neste momento já conhecemos alguns segredos que fabricantes como a Samsung e a Huawei estão a preparar. No entanto, a última novidade fala mesmo da gigante coreana e tudo graças a uma patente.
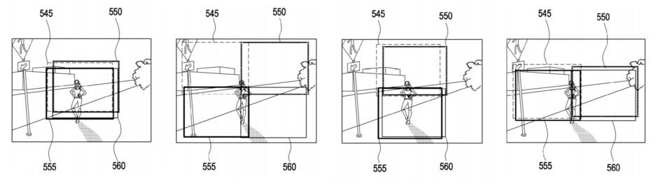
Descoberta pelo site LetsGoDigital refere-se a um sistema que terá até seis câmaras individuais. Se este facto o fez lembrar do Nokia 9 e do arranjo de cinco câmaras, estamos a falar de algo totalmente diferente. O novo truque que a Samsung patenteou é que cada câmara pode ser inclinada em dois eixos: um vertical e outro horizontal.
As câmaras podem ser combinadas em diferentes matrizes. Usar uma de três câmaras ou até as seis. Entretanto as câmaras inclináveis podem ser controladas através da aplicação, permitindo que os utilizadores ajustem a largura e a altura da imagem. Basicamente, pode enquadrar a sua foto da forma que quer, sem precisar de se mover.
Claro que depois das imagens terem sido capturadas, o smartphone vai necessitar de executar algumas tarefas para combinar os dados de todos os sensores numa só imagem.
No entanto, este sistema não pode ser utilizado para capturar imagens verdadeiramente panorâmicas. Ainda assim, há um truque. É que as câmaras podem ser inclinadas para dentro, o que resultará em algo a que a Samsung chama de pano-bokeh. Pano-Bokeh é basicamente uma foto panorâmica no qual o fundo tem o efeito bokeh.
As câmaras incluídas na matriz também não necessitam de ser as mesmas, explica a patente. Os sensores podem ter tamanhos diferentes e as lentes diferentes distâncias focais. Por exemplo, uma matriz de 5 câmaras pode ter quatro câmaras grande angular e uma câmara telefoto.
Isto é algo muito interessante uma vez que significa que vamos conseguir obter fotos que até agora não era possível. De facto, muitos analistas revelam que esta inovação poderá colocar o mercado das câmaras fotográficas em risco. Claro que isto ainda não será para já. É que, considerando que a patente só foi desenvolvida agora, ainda vai levar algum tempo até que chegue a todos os equipamentos.
Mas será mesmo o fim das câmeras fotográficas?
Do ponto de vista dos fotógrafos profissionais, com equipamentos sofisticados, a resposta é claramente não. Nunca verá fotógrafos profissionais a utilizarem smartphones como a sua câmara principal em casamentos e eventos esportivos. Mas e os fotógrafos amadores? E os pais, os adolescentes e todos os outros? Pode uma pessoa com pouco ou nenhum treino tirar melhores com um smartphone do que com uma DSLR? Isso já pode acontecer!
É verdade que os nossos smartphones não disponibilizam o alcance de uma lente telefoto de 200 mm, mas o que falta ao nível do alcance é compensado pela espontaneidade. As pessoas vão com os smartphones para todo o lado. Com as máquinas fotográficas nem sempre acontece.
Uma DLSR com uma lente de 200 mm será ótima em muitos cenários, mas também será pesada. Com o smartphone é so tirar do bolso e fotografar.
É verdade que ainda vai levar algum tempo até termos verdadeiros sensores de alta resolução nos smartphones. Já há varias tentativas por parte da Samsung e da Huawei mas ainda não estamos no ponto certo. No entanto, a maioria das pessoas não necessita de tanta resolução, a menos que vá imprimir as fotos num tamanho de um poster. Se imprimir as imagens num tamanho normal, as fotos ficam fantásticas quando tiradas com luz decente. Se as quiser ver no portátil ou na TV está igualmente bem servido.
Para além disso temos a conveniência. Quando acabamos de tirar uma foto com o smartphone podemos editar logo as imagens no Lightroom, publicar as melhores no Instagram e fazer backup das suas fotos para a cloud sem necessitar de remover um cartão de memória ou ligar um equipamento ao computador. Numa DSLR já são necessários mais passos.
Será que a conveniência vai ganhar à qualidade? Só o tempo o dirá. O que é certo é que a Samsung está a fazer um bom caminho nesta questão das câmaras fotográficas.












