Como deve saber, já existem vários smartphones no mercado com a câmara frontal escondida debaixo do ecrã OLED, como é o exemplo do RedMagic 8 Pro, ou até de vários modelos do Galaxy Z Fold da Samsung. No entanto, como a performance de captura fica seriamente comprometida, ainda não é fácil de encontrar este tipo de tecnologia num grande número de aparelhos.
Sim, a Samsung tem o sensor escondido no seu topo de gama Z Fold, mas é uma solução de recurso, existindo outras duas formas de tirar selfies ou gravar a sua cara, com mais qualidade à mistura. Este tipo de tecnologia ainda está infelizmente longe de ser ‘mainstream’. Mas… Estamos a ficar mais perto!
Google vai salvar a ideia da câmara frontal debaixo do ecrã!

Portanto, o sonho do ecrã infinito é cada vez mais uma realidade próxima! A grande maioria dos smartphones Android já só contam um furo no ecrã para a câmara principal, e até a Apple se afastou da afamada notch para finalmente começar a diminuir o espaço que os seus sensores ocupam no ecrã OLED. Aliás, a Apple até está a percorrer um caminho muito interessante, de forma a oferecer o smartphone com as margens mais finas de sempre.
Define a Leak como fonte favorita na Pesquisa Google e recebe mais notícias nossas.
Dito tudo isto, como dissemos em cima, ainda falta algum tempo até termos uma tecnologia poderosa e eficiente o suficiente, para termos tudo bem escondidinho debaixo do ecrã OLED. Porém, os desenvolvimentos estão a ser feitos, e ao que tudo indica, a Google pode ter a solução debaixo da manga.

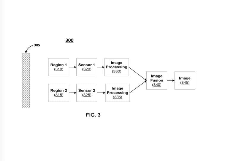
Sim, os Smartphones Pixel do futuro vão contar com esta tecnologia, graças uma ideia inovadora. Aliás, a patente já está cá fora com o nome de “System And Apparatus Of Under-Display Camera”, e pelos vistos, vai assentar num sistema capaz de utilizar dois sensores ao mesmo tempo para combinar as capturas de ambos numa única imagem superior. Como deve imaginar, são sensores diferentes, para juntos serem capazes de ultrapassar as limitações do ecrã OLED a bloquear a entrada de luz. Ou seja, é muito provável que as fabricantes comecem a utilizar uma combinação RGB + Monocromática, para ir buscar o máximo de detalhe possível.
![]()
Desta forma, além do hardware, vai também ser necessário implementar software poderoso para ir buscar os pontos fortes de cada imagem, e assim criar uma imagem comparável aquilo que os sensores frontais são hoje capazes de oferecer.
Quando é que podemos ver isto no mercado? Bem, diria que em 2024 vamos ver novas tentativas. Ou seja, já na próxima geração. Porém, os smartphones Pixel só chegam às prateleiras no final de cada ano, por isso, ainda temos muito que esperar.




