Apesar de não parecer, o mundo da tecnologia não para! As grandes empresas estão constantemente a trabalhar em novas inovações, atrás de portas, de forma a convencer os utilizadores a optar pelo seu ecossistema, num futuro breve.
Um grande exemplo de uma destas fabricantes é a Samsung, que além de smartphones dobráveis, também parece ter uma grande surpresa a postos para impressionar na parte dos relógios inteligentes, os aparelhos vulgarmente conhecidos como smartwatches.
Samsung está a trabalhar num smartwatch com ecrã ‘extensível’

Portanto, segundo uma nova patente da Samsung, a gigante Sul Coreana está a trabalhar numa nova geração de smartwatches, com um ecrã enrolável, e claro, uma câmera para facilitar videochamadas ou reuniões via Zoom/Teams/Meets. Um design muito interessante, se tivermos em conta que o mundo dos gadgets mobile anda um bocado ‘presa no tempo’.
Entretanto, obviamente que um aparelho como estes ainda está um pouco longe de ser uma realidade. Ainda assim, é muito positivo ver que as fabricantes estão a começar a brincar mais e mais com a ideia de fazer mais com o que temos no nosso pulso. Incluindo o consumo de conteúdos multimédia, graças a um ecrã de grandes dimensões.
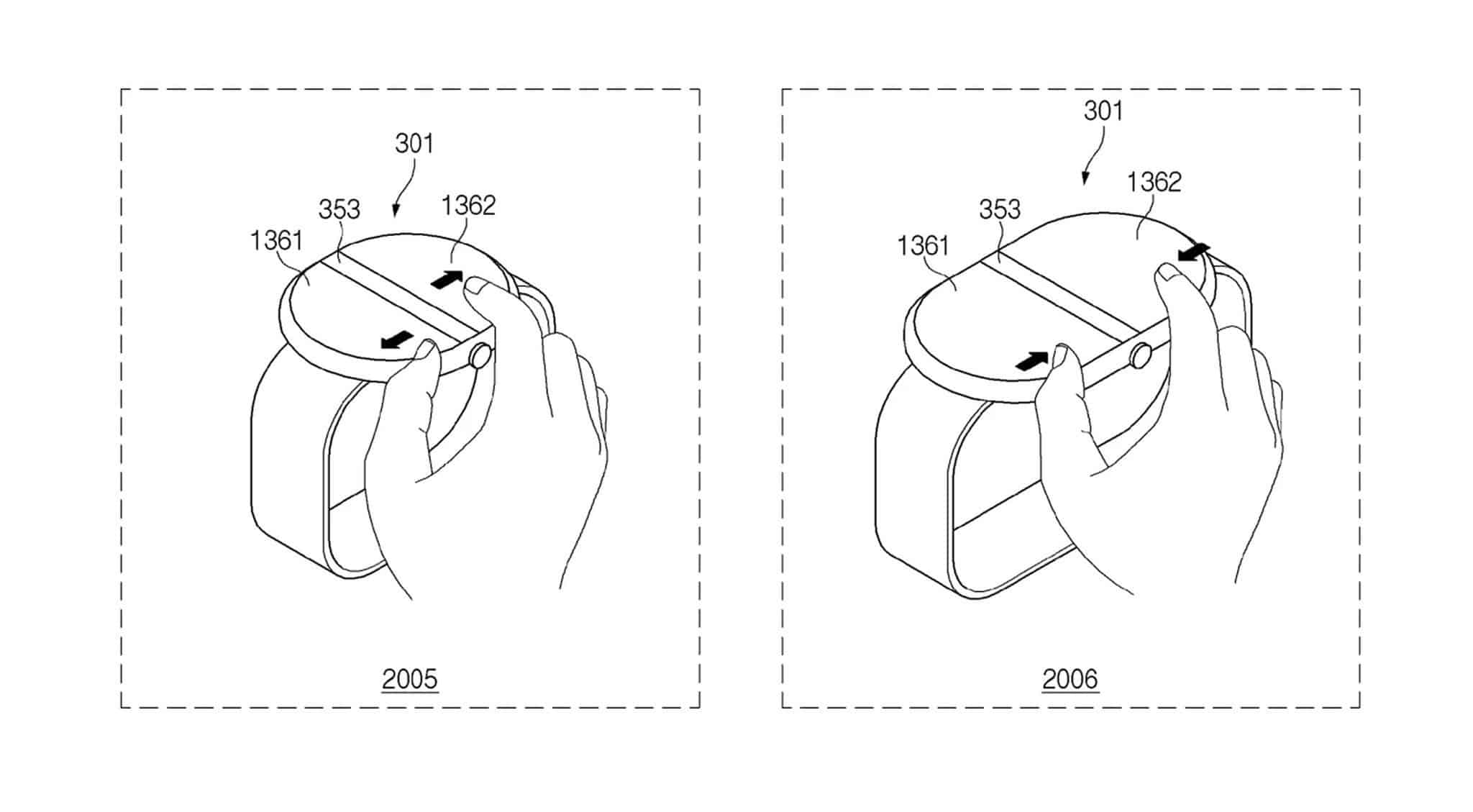
Como é que irá funcionar este relógio?
Ao que tudo indica, é possível deslizar o ecrã, aumentando o seu tamanho em até mais 40%, isto ao mesmo tempo que também damos espaço à câmera para aparecer e funcionar, bem no meio do ecrã.
Será isto útil? Bem… Excelente pergunta. Ainda não sabemos. Mas uma coisa é certa, ver inovação no mundo dos smartwatches. Afastando-os mais e mais dos tradicionais relógios de pulso, é sem dúvida uma excelente notícia, e algo realmente necessário para este submundo tecnológico.
Ademais, o que pensa sobre tudo isto? Quer um relógio destes no seu pulso? Partilhe connosco a sua opinião nos comentários em baixo.




