O iPhone 12 é um caso de sucesso tremendo, com quase todos os modelos (menos o mini) a voar das prateleiras que nem pãezinhos quentes acabadinhos de fazer. No entanto, apesar de todos os seus pontos positivos, é inegável que o design da atual geração de iPhones está um pouco “parado no tempo”.
Afinal de contas, é o mesmo exato design que podemos encontrar no iPhone X, que foi originalmente lançado em 2017. Pois bem, nós sabemos disso, você também sabe, e pelos vistos, a Apple não está assim tão fora do círculo quanto isso.
Será o fim da ‘notch’ no iPhone? Aleluia! Finalmente!

Portanto, há muitos tempo que andamos a ouvir falar dos planos da Apple para a eliminação ou redução da afamada Notch (ou monocelha). Mas até agora nada, a gama iPhone 12 continua a trazer para cima da mesa o velho sistema Face ID, acompanhado por um entalhe gigantesco, especialmente quando comparado aos rivais diretos como o Mate 40 Pro da Huawei ou Galaxy S21 Ultra da Samsung, que apenas têm um ‘furo’ no ecrã.
Pois bem, lá pelo iPhone 12 continuar com a ‘notch’, não significa que a Apple não esteja a desenvolver maneiras de esconder o sistema de reconhecimento facial. Afinal de contas, temos agora uma nova patente a demonstrar isto mesmo.
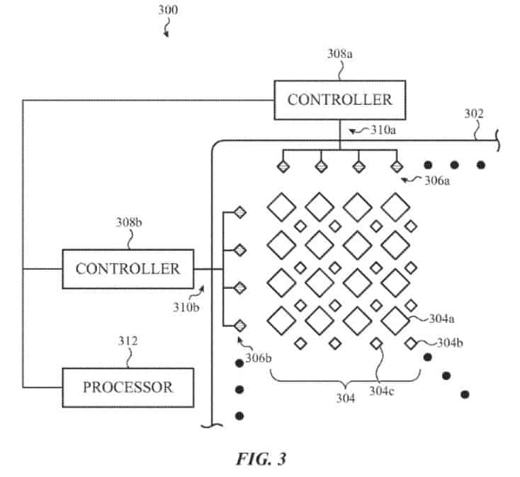
Patente revela tecnologia capaz de detetar luz através do ecrã!
Pois bem, uma nova patente registada pela Apple revela uma tecnologia que poderá mesmo vir a fazer parte dos próximos iPhones, tanto para o Face ID como para o Touch ID! Sim! O Touch ID poderá estar de regresso, devido às dificuldades de autenticação que o COVID-19 trouxe para cima da mesa. (Caso não saiba, quem tem um iPhone, tem de o desbloquear com código, visto que a máscara impossibilita o uso do Face ID.)
A patente tem o nome de “Sensing System for Detection of Light Incident to a Light Emitting Layer of an Electronic Device Display”. O que resumidamente significa a implementação de um sensor debaixo do ecrã para a deteção de luz. Tudo de forma a reduzir a implementação do Face ID, ou dar vida a um Touch ID superior a qualquer sistema de impressão digital do mundo Android.
Mas lá está, a Apple passa a vida a registar patentes que nunca irá utilizar, ou pelo menos não tem planos de o fazer no imediato… Por isso, esta tecnologia poderá não fazer parte do iPhone 13. Isto mesmo tendo em conta que o Touch ID deverá voltar já em 2021, devido às dificuldades já mencionadas inerentes à pandemia de COVID-19.
Ademais, o que pensa sobre tudo isto? Partilhe connosco a sua opinião nos comentários em baixo.

