Provavelmente já lhe aconteceu estar a jogar, e do nada ficar sem bateria no comando. Bem… Há poucas coisas mais irritantes do que estarmos a viver uma sessão de jogo como nunca, e do nada, ter de mudar de comando ou ir buscar o clássico cabo USB para carregar o dito cujo.
Não é propriamente o fim do mundo, mas é uma situação chata que todos os jogadores têm de eventualmente ter de viver. Pois bem, ao que tudo indica, a nova PlayStation 5 pode ter uma solução para este problema.
Odeia carregar o comando? A PlayStation 5 tem a solução.
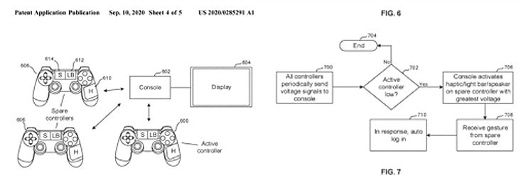
Portanto, a Sony patenteou um novo sistema denominado de “Low Battery Switch Over”, o que claro está deverá ser uma funcionalidade do novo comando DualSense. Ou seja, muito resumidamente, quando recebe o aviso de bateria fraca, aparece no imediato a possibilidade no ecrã de mudar para um segundo comando. Ora veja:

Entretanto, é também esperado que o novo DualSense da PS5 dure significativamente mais tempo em relação ao ‘velhinho’ DualShock 4. Além disso, a Sony também vai vender uma espécie de estação de carregamento para o novo comando logo no início do ciclo de vida da consola.
Ademais, o que pensa sobre tudo isto? Partilhe connosco a sua opinião nos comentários em baixo.
Xbox Series vs PlayStation 5: Microsoft está a perder dinheiro a sério!
Xbox Series vs PlayStation 5: Como já deve ter percebido, a Microsoft decidiu ser a primeira a revelar os preços das suas consolas de nova geração, depois de um braço de ferro que quebrou recordes! Sabe porquê? Porque muito resumidamente, a empresa está a perder dinheiro a sério em todas as unidades vendidas.
Ou seja, de forma a fazer uma ‘rasteira’ à Sony, que segundo as últimas informações até obrigou a gigante Japonesa a delinear uma nova estratégia, a Microsoft decidiu lançar as consolas Xbox Series pelo preço mínimo possível. O que claro está, significa que a gigante Norte-Americana está a perder dinheiro em cada unidade vendida, de forma a realmente ser competitiva com a velha rival.
Leia o resto do artigo aqui.

