Como deve saber, a Disney é uma das maiores produtoras de conteúdo audiovisual do planeta. Por isso, é também uma das principais visadas quando o tema é pirataria de filmes, músicas e séries. Pois bem, devido a tudo isto, a gigante Norte Americana decidiu adicionar uma gigantesca arma ao seu arsenal antipirataria!
Um sistema de distribuição baseado na tecnologia blockchain. Que segundo a Disney, torna a missão de piratear conteúdo multimédia muito mais complicada.
Disney criou uma nova solução para parar os piratas!

Portanto, a Disney já não reina apenas e só nos cinemas e nas TVs, visto que o seu serviço de streaming Disney+ está a ser um sucesso tremendo, ao trazer velho e novo conteúdo para as mãos dos fãs. Contudo, como deve imaginar, o maior inimigo do streaming, é mesmo a pirataria. Por isso, para ir contra este fenómeno que parece simplesmente não morrer, a empresa não só tem uma equipa in-house responsável pela sua defesa, como também faz parte da gigantesca coligação ACE.
Assim, dentro de todos estes esforços antipirataria, a Disney já foi capaz de ‘matar’ várias dezenas de sites e serviços pirata. No entanto, a nova patente agora registada e atribuída à Disney, pode facilitar ainda mais esta luta nos próximos tempos. Especialmente quando o tema são leaks de conteúdo antes do tempo.
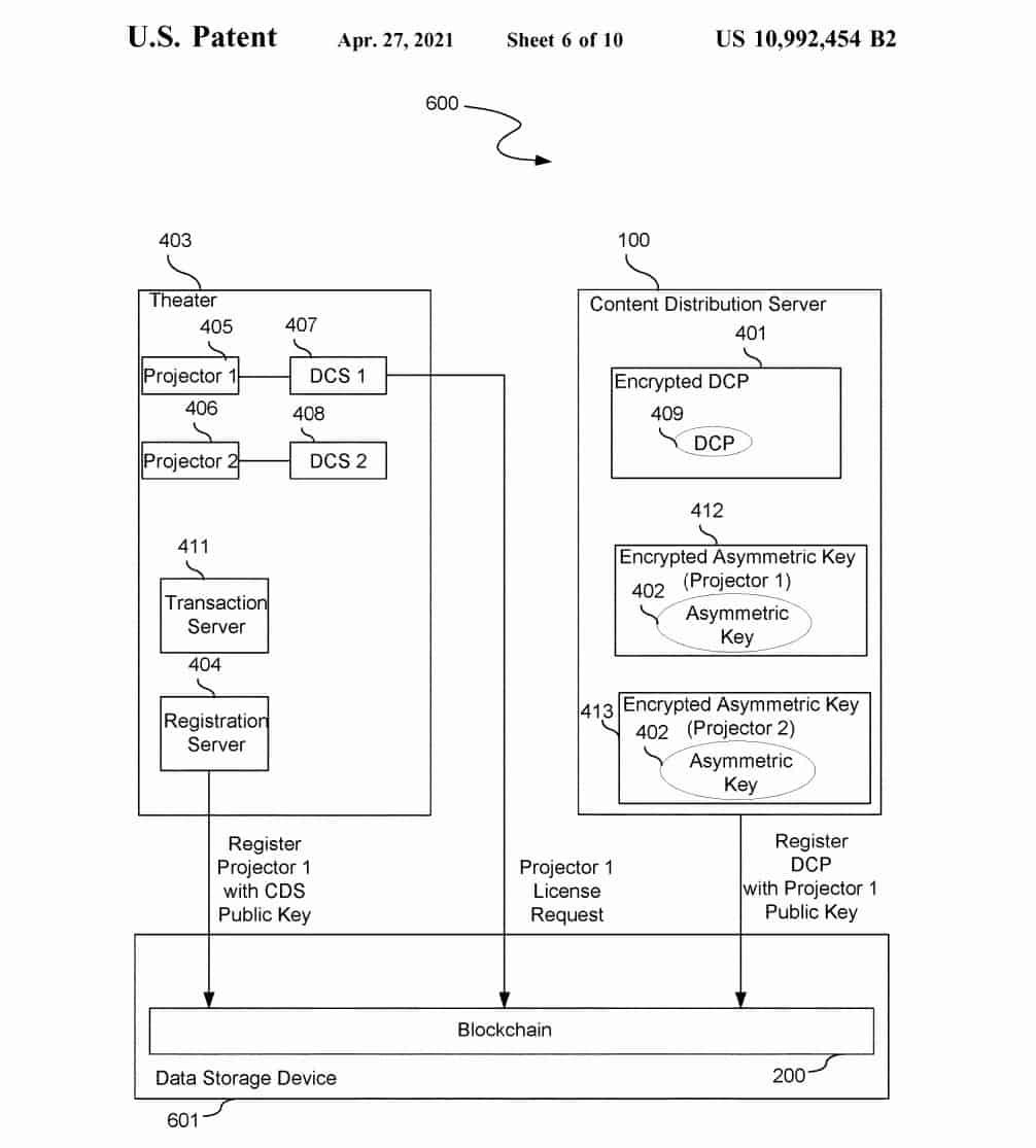
Afinal de contas, estamos a falar de um novo sistema de distribuição de conteúdo para os cinemas. Um dos momentos mais vulneráveis do processo, visto que um pirata com os contactos certos, pode simplesmente copiar toda a obra antes desta chegar às salas de cinema.
Claro que antes deste sistema, os canais de distribuição já eram extremamente bem controlados, com marcas de água, e regras muito pesadas. Ainda assim, a Disney quer garantir que nada falha, e por isso, parece que a Blockchain é a solução. (Como pode ver na imagem em cima)
Ademais, o que pensa sobre tudo isto? Partilhe connosco a sua opinião nos comentários em baixo.

