Muito honestamente, ainda não percebi o porquê de as grandes fabricantes ainda não terem apostado na implementação de uma câmera de alta resolução nos seus smartwatches. Seria algo com um potencial tremendo para alavancar o formato, possibilitando outro tipo de comunicação, sem ser necessário tirar o smartphone do bolso.
Consegue imaginar fazer uma videochamada a partir do relógio? Seria absolutamente incrível, e digno de aparecer num qualquer filme de James Bond. Pois bem, está prestes a chegar!.
Apple Watch vai ter câmera (Fotos, Videochamada, Face ID)!

Bem, antes de mais nada, é preciso dizer que já existem smartwatches com câmeras no mercado. Aliás, tenho na secretária do meu PC Desktop um smartwatch da Kospet com uma câmera rotativa, que permite tirar fotos, filmes, ou até fazer videochamadas.
Mas, como é óbvio, os relógios da Kospet, apesar de incríveis tecnicamente, ainda são muito fracos na qualidade de construção e potencialidades do software. Sendo exatamente por isso que muitos utilizadores querem ver uma Samsung, uma Mobvoi, Fossil, ou Apple, a fazer das suas neste campo.
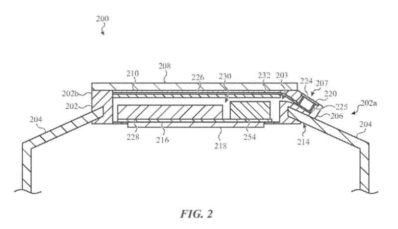
Pois bem, ao que tudo indica, a Apple tem mesmo planos para avançar com essa ideia, ao implementar um sistema de câmeras que tanto pode servir para tirar fotos, como fazer videochamadas, e até fazer autenticação a partir da sua face. Consegue imaginar fazer pagamentos através do relógio, e autenticar a coisa através da sua cara? Bem, vai acontecer!
Isto elevaria aquele que já é considerado o melhor relógio inteligente do mercado, a um nível realmente novo e interessante. Também iria meter todas as rivais da Apple neste sub-mercado a tentar fazer coisas novas. Por isso… Sim Apple! Implementa lá isso, nem que seja só no modelo Ultra, para ver se a coisa resulta.
Mas… O que é realmente importante é saber a sua opinião! Quer um relógio com câmera? Ou não faz grande sentido quando já tem o smartphone? Partilhe connosco a sua opinião na caixa de comentários em baixo.

