AFK significa ‘Away from the Keyboard’, sendo uma expressão utilizada para quem tem de se afastar um pouco do computador, smartphone, ou consola, por algum valor mais alto que entretanto se tenha levantado.
Infelizmente, nem sempre dá para jogar descansado… Por isso mesmo, a Sony está a desenvolver uma tecnologia capaz de detetar se o jogador está ao comando, ou teve de sair durante alguns minutos. A ideia é assinalar isso mesmo no jogo em execução em dado momento.
AFK vai começar a aparecer nas consolas. PS5 é a primeira

Portanto, como é normal, quando pousa o comando da sua consola, esta não faz ideia se o jogador se ausentou, ou se apenas não está a fazer nada. Isto pode acontecer em jogos online, mas também offline.
Imagine que está a meio de uma cutscene que não dá para fazer skip, e tem de se ausentar… Assim que esta parte termina, e o jogo recomeça, não vai estar lá, e possivelmente até pode começar a levar dano, e morrer em jogo. O que não é o fim do mundo, mas é chato!
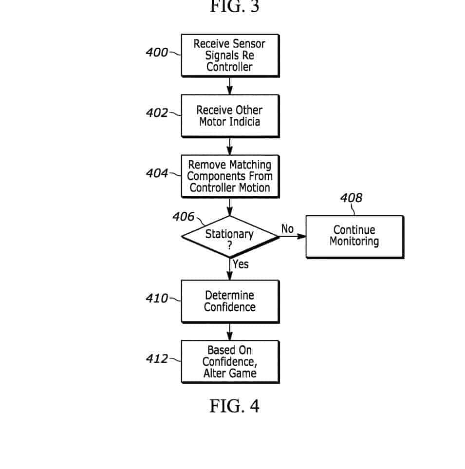
Pois bem, a Sony quer acabar com isto, com um sistema inteligente. Ou seja, não quer utilizar apenas um temporizador capaz de aferir se o utilizador está ou não ativo. Como? Ao aproveitar os muitos sensores do comando DualSense, e claro, versões mais premium que têm chegado ao mercado nos últimos tempos.
A ideia é oferecer um sistema inteligente, que ao mesmo tempo que afere o grau de AFK, também implementa soluções diferentes, para jogos diferentes. Muito interessante!
Ademais, o que pensa sobre tudo isto? É um daqueles jogadores que passa a vida a ficar AFK, sem avisar ninguém? Já teve problemas com isso? Partilhe connosco a sua opinião na caixa de comentários em baixo.

